| KHBF(KHMF)系列法兰式球阀 |
图形符号

型号说明
① 系列代号:KHBF(KHMF)系列法兰式球阀 ② 公称通径:16、20、25、32、40、50mm ③ 压力范围:40、63、100、160、250、315bar ④ 阀体材料:1-钢 ⑤ 球体材料:1-钢 ⑥ 工作温度:1、-25~+100℃、2、-30~+170℃ ⑦ 其他密封:2-丁晴橡胶 ⑧ 手柄形式:02-铝质直柄06-钢质曲柄09-不带手柄 ⑨ 设计序号:由生产商定
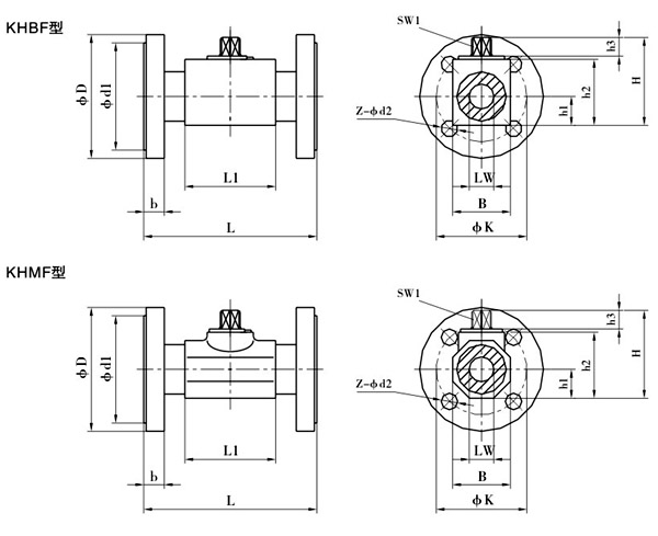
外形尺寸
 尺寸表
| 简略型号 |
压力范围 |
DN |
LW |
L |
L1 |
D |
d1 |
d2 |
K |
B |
b |
H |
h1 |
h2 |
h3 |
SW1 |
Z |
| KHBF-016 |
10-40 |
16 |
15 |
130 |
48 |
95 |
45 |
14 |
65 |
38 |
16 |
62 |
19 |
45 |
11 |
9 |
4 |
| KHBF-016 |
63-160 |
105 |
14 |
75 |
20 |
| KHBF-016 |
250-315 |
130 |
18 |
90 |
26 |
| KHBF-020 |
10-40 |
20 |
20 |
150 |
60 |
105 |
58 |
14 |
75 |
48 |
18 |
75 |
25 |
57 |
11 |
12 |
4 |
| KHBF-025 |
10-40 |
25 |
25 |
160 |
65 |
115 |
68 |
14 |
85 |
57 |
18 |
82 |
28.5 |
64 |
11 |
12 |
4 |
| KHBF-025 |
63-160 |
140 |
18 |
100 |
24 |
| KHBF-025 |
250 |
150 |
22 |
105 |
28 |
| KHBF-025 |
315 |
160 |
22 |
115 |
34 |
| 简略型号 |
压力范围 |
DN |
LW |
L |
L1 |
D |
d1 |
d2 |
k |
B |
b |
H |
h1 |
h2 |
h3 |
SW1 |
Z |
| KHMF-032 |
10-40 |
32 |
30 |
180 |
84 |
140 |
78 |
18 |
100 |
75 |
18 |
103 |
37.5 |
84 |
12 |
14 |
4 |
| KHMF-032 |
63-160 |
155 |
22 |
110 |
26 |
| KHMF-040 |
10-40 |
40 |
38 |
200 |
91 |
150 |
88 |
18 |
110 |
85 |
18 |
114 |
42.5 |
95 |
12 |
14 |
4 |
| KHMF-040 |
63-160 |
170 |
22 |
125 |
28 |
| KHMF-040 |
250 |
185 |
26 |
135 |
34 |
| KHMF-040 |
315 |
195 |
26 |
145 |
38 |
| KHMF-050 |
10-40 |
50 |
48 |
230 |
100 |
165 |
102 |
18 |
125 |
105 |
20 |
131.5 |
52.5 |
112.5 |
12 |
14 |
4 |
| KHMF-050 |
63 |
180 |
22 |
135 |
26 |
| KHMF-050 |
100-160 |
195 |
26 |
145 |
30 |
| KHMF-050 |
250 |
200 |
26 |
150 |
38 |
8 |
| KHMF-050 |
315 |
210 |
26 |
160 |
42 |
| 简略型号 |
压力范围 |
DN |
LW |
L |
L1 |
D |
d1 |
d2 |
k |
B |
b |
H |
h1 |
h2 |
h3 |
SW1 |
Z |
| KHMF-032 |
10-40 |
32 |
30 |
130 |
84 |
140 |
78 |
18 |
100 |
75 |
18 |
103 |
37.5 |
84 |
12 |
17 |
4 |
| KHMF-040 |
40 |
38 |
140 |
91 |
150 |
88 |
110 |
85 |
18 |
114 |
42.5 |
95 |
| KHMF-050 |
50 |
48 |
150 |
100 |
165 |
102 |
125 |
105 |
20 |
131.5 |
52.5 |
112.5 | | 上海科而阀门有限公司www.kerfm.cn 版权所有,转载请注明, 订货流程:
1、客户采购清单传真至021-57470352或来电咨询021-51097056或发邮箱888@kerfm.cn
2、收到客户采购清单,为客户提供阀门型号选型与报价(价格清单).
3、具体商定:交货期、特殊要求等事宜. |